Food & Pharma Distanzhalter: Hygiene hat oberste Priorität

Quelle: Pressemitteilung 1 min Lesedauer

Anbieter zum Thema

Stufenlos einstellbar, hygienisch und schnell zu reinigen – das ist der neue Distanzhalter (K2153) von Kipp. Das Produkt ergänzt das Hygienic-Design-Sortiment des Norm- und Bedienteilspezialisten.

Mit dem einstellbaren Distanzhalter aus dem Hygienic-Design-Portfolio von Kipp lässt sich der Abstand zwischen zwei Bauteilen in einem Bereich von 20 Millimetern stufenlos anpassen(Bild:  Kipp)
Mit dem einstellbaren Distanzhalter aus dem Hygienic-Design-Portfolio von Kipp lässt sich der Abstand zwischen zwei Bauteilen in einem Bereich von 20 Millimetern stufenlos anpassen
(Bild: Kipp)

Der neue Distanzhalter (K2153) von Kipp überzeugt überall dort, wo Hygiene oberste Priorität hat. Dank stufenloser Höhenverstellbarkeit lässt er sich an variierende Prozess-Einstellungen flexibel anpassen. «Mit dem Hygienic-Design-Distanzhalter aus Edelstahl haben wir eine Antwort auf die anspruchsvollen Anforderungen unserer Kunden aus der Lebensmittel- und Pharmaindustrie gefunden», erklärt Andreas Völkle, Produktmanager bei Kipp. Durch die stufenlose Verstellbarkeit, die glatte Oberfläche mit einer Oberflächenrauigkeit Ra ≤ 0,8 Mikrometern und das reinigungsoptimierte Design verbindet das Produkt maximale Flexibilität mit höchsten Hygienestandards.

Die ursprüngliche Idee für den Distanzhalter entstand aus einer Sonderanfrage: Ein Kunde benötigte eine flexibel einstellbare Stütze für eine höhenvariable Anwendung. Was damals als Einzellösung begann, hat der Hersteller nun zu einem serienreifen Produkt weiterentwickelt, mit dem sich der Abstand zwischen zwei Bauteilen in einem Bereich von 20 Millimetern stufenlos anpassen lässt. Die Einstellung des Distanzhalters erfolgt über zwei Schlüsselflächen zum Ein- und Ausdrehen. Optimalerweise kommt dafür ein Ring- bzw. Maulschlüssel mit Schonaufsätzen (K1362) oder ein Zangenschlüssel mit Schonbacken (K2242) aus dem Portfolio des Anbieters zum Einsatz.

Materialien und Design der Distanzhalter sorgen für hygienische Perfektion

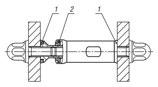
Zwischen den beiden Stirnseiten des Distanzhalters und den Bauteilen befindet sich jeweils ein Dichtring im Hygienic Design (1), der bei Bedarf ausgetauscht werden kann. Für Prozesssicherheit sorgt eine integrierte Schaftdichtung (2), die das Eindringen von Staub, Schmutz und Feuchtigkeit in den Edelstahl-Zylinder verhindert.(Bild:  Kipp)
Zwischen den beiden Stirnseiten des Distanzhalters und den Bauteilen befindet sich jeweils ein Dichtring im Hygienic Design (1), der bei Bedarf ausgetauscht werden kann. Für Prozesssicherheit sorgt eine integrierte Schaftdichtung (2), die das Eindringen von Staub, Schmutz und Feuchtigkeit in den Edelstahl-Zylinder verhindert.
(Bild: Kipp)

Die Distanzhalter sind für den Einsatz in einem Temperaturbereich von -20 und +100 Grad Celsius geeignet. Für Prozesssicherheit sorgt dabei eine integrierte Schaftdichtung, die das Eindringen von Staub, Schmutz oder Feuchtigkeit in den Edelstahl-Zylinder zuverlässig verhindert. Zwischen den beiden Stirnseiten des Distanzhalters und den Bauteilen befindet sich jeweils ein Dichtring (K1649) aus einem EU10/2011- und FDA-konformen Thermoplast (POM), der bei Bedarf ausgetauscht werden kann. Die Befestigung erfolgt über Sechskantschrauben (K1647), die – ebenso wie die Dichtringe – allen Hygienic-Design-Kriterien entsprechen.

Bei einem Durchmesser von 20 Millimetern deckt der Distanzhalter alle Längenmaße zwischen 65 und 85 Millimetern stufenlos und zuverlässig ab. Sonderlängen sind auf Anfrage verfügbar.

Jetzt Newsletter abonnieren

Verpassen Sie nicht unsere besten Inhalte

Mit Klick auf „Newsletter abonnieren“ erkläre ich mich mit der Verarbeitung und Nutzung meiner Daten gemäß Einwilligungserklärung (bitte aufklappen für Details) einverstanden und akzeptiere die Nutzungsbedingungen. Weitere Informationen finde ich in unserer Datenschutzerklärung. Die Einwilligungserklärung bezieht sich u. a. auf die Zusendung von redaktionellen Newslettern per E-Mail und auf den Datenabgleich zu Marketingzwecken mit ausgewählten Werbepartnern (z. B. LinkedIn, Google, Meta).

Aufklappen für Details zu Ihrer Einwilligung